System 2000 Vw Beetle Engine Diagram

System 2000 Vw Beetle Engine Diagram. Volkswagen beetle brakes and suspension pdf; Volkswagen beetle 2000, engine crankcase vent valve by uro.

juliayunwonder 2000 vw beetle engine diagram
juliayunwonder 2000 vw beetle engine diagram from juliayunwonder.blogspot.com

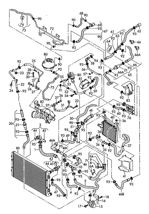
Web a 2000 vw beetle parts diagram will show you the location of parts like the fuel tank, oil filter, spark plugs, and more. Volkswagen beetle brakes and suspension pdf; Web volkswagen beetle 1.8l / 1.9l / 2.0l 2000, dual radiator and condenser fan assembly by tyc®.

A Fuse Is Represented By A Rectangle With Two Vertical Lines.


It will also provide information on the size and. Web the 2000 volkswagen beetle is a small car with a powerful engine and a simple, straightforward wiring system. Volkswagen beetle 2000, engine crankcase vent valve by uro.

Make Your Vehicle Operating Quiet Again By Replacing Your Malfunctioning Component.


Car service repair manuals and wiring diagrams pdf free online. Volkswagen beetle 2000, engine crankcase vent valve by uro parts®. Web engine control units:

Volkswagen Beetle Brakes And Suspension Pdf;


Remove the fuse using the plastic tweezers located on the fuse box cover. See diagrams below for details about which fuse to check. Web open the appropriate fuse box.

Web Web System 2000 Vw Beetle Engine Diagram Complete Wiring Schemas From Wiring89.Blogspot.com.


Web detailed volkswagen beetle engine and associated service systems. Web shop 2000 volkswagen beetle parts. A ground is represented by a rectangle with.

Despite Its Diminutive Size And Power, The 2000.


Web volkswagen beetle 1.8l / 1.9l / 2.0l 2000, dual radiator and condenser fan assembly by tyc®. The cooling fan assembly is an essential part of a vehicle’s cooling system. Web a 2000 vw beetle parts diagram will show you the location of parts like the fuel tank, oil filter, spark plugs, and more.